Product Summary
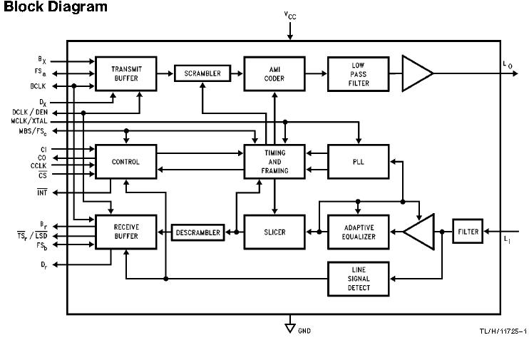
The TP3406N is a complete monolithic transceiver for data transmission on twisted pair subscriber loops. It is built on National double poly microcosm process, and requires only a single +5 Volt supply. The TP3406N operates as an ISDN “U” Interface for short loop applications, typically in a PBX environment, providing transmission for 2 B channels and 1 D channel. Thus the TP3406N operates as an ISDN‘U’ Interface for short loop applications, typically in a PBX environment, providing transmission for 2 B channels and 1D channel. On Y24 cable, the range is up to 800 meters.
Parametrics
TP3406N absolute maximum ratings: (1)VCC to GND:7V; (2)Voltage at Li, Lo:VCC+1V to VSS-1V; (3)Voltage at any Digital Input:VCC+1V to VSS-1V; (4)Storage Temperature Range:-65℃ to +150℃; (5)Current at Lo:±100 mA; (6)Current at any Digital Output:±50 mA; (7)Lead Temperature (Soldering, 10 sec.):300℃; (8)ESD (Human Body Model):2000V.
Features
TP3406N features: (1)2 B plus D channel interface for PBX Ue Interface; (2)144 kb/s full-duplex on 1 twisted pair using Burst Mode; (3)Loop range up to 800 meters (Y24AWG); (4)Alternate Mark Inversion coding with transmit filter and scrambler for low emi radiation; (5)Adaptive line equalizer; (6)On-chip timing recovery, no external components; (7)Standard TDM interface for B channels; (8)Separate interface for D channel; (9)2.048 MHz master clock; (10)Driver for line transformer; (11)4 loop-back test modes; (12)Single +5V supply; (13)MICROWIRETM compatible serial control interface; (14)Available in 28-pin PLCC Package.
Diagrams

| Image | Part No | Mfg | Description | ![]() |
Pricing (USD) |
Quantity | ||||||||||||
|---|---|---|---|---|---|---|---|---|---|---|---|---|---|---|---|---|---|---|
![]() |
![]() TP3406N/NOPB |
![]() |
![]() IC ADAPTER DIG QDASL QUAD 20PLCC |
![]() Data Sheet |
![]() Negotiable |
|
||||||||||||
| Image | Part No | Mfg | Description | ![]() |
Pricing (USD) |
Quantity | ||||||||||||
![]() |
![]() TP3401 |
![]() Other |
![]() |
![]() Data Sheet |
![]() Negotiable |
|
||||||||||||
![]() |
![]() TP3402 |
![]() Other |
![]() |
![]() Data Sheet |
![]() Negotiable |
|
||||||||||||
![]() |
![]() TP3403 |
![]() Other |
![]() |
![]() Data Sheet |
![]() Negotiable |
|
||||||||||||
![]() |
![]() TP3404 |
![]() Other |
![]() |
![]() Data Sheet |
![]() Negotiable |
|
||||||||||||
![]() |
![]() TP3404V |
![]() National Semiconductor (TI) |
![]() ISDN Interface |
![]() Data Sheet |
![]()
|
|
||||||||||||
![]() |
![]() TP3404V/63 |
![]() National Semiconductor (TI) |
![]() ISDN Interface |
![]() Data Sheet |
![]()
|
|
||||||||||||
(Hong Kong)










